今天给各位分享乱世王者升级攻略的知识,其中也会对乱世王者进阶攻略进行解释,如果能碰巧解决你现在面临的问题,别忘了关注本站,现在开始吧!
本文目录一览:
- 〖壹〗、冲击全服第一!乱世王者快速升级攻略
- 〖贰〗、乱世王者主城升级条件
- 〖叁〗、乱世王者怎么升级快
- 〖肆〗、《乱世王者》30到40升级表是什么?
- 〖伍〗、乱世王者升级攻略乱世王者武将快速升级武将等级怎么提升
- 〖陆〗、乱世王者怎么快速升战力到150万
冲击全服第一!乱世王者快速升级攻略
任务 在游戏中游戏任务有主线任务和每天任务之分,都是必做的任务。主线任务包括推荐任务和普通任务,跟着推荐任务走就可以了,推荐的任务完成后都可以获得丰富的任务资源和经验,特殊任务还有橙将碎片可以领取,如果推荐任务需要长时间才可以完成,就等有时间挂机完成吧,可以先做下普通任务。
首先,推荐任务是快速获取经验的途径之一。完成这些任务不仅能获得丰厚的经验奖励,还能提升角色等级和装备品质。其次,根据需求升级建筑同样重要。升级城墙、军营等建筑不仅能增强自己的防御和攻击能力,还能解锁更多资源产出。
升级建筑是快速积累经验的重要途径。城池中7分钟内免费升级至1秒的建筑应优先升至3级,以获得最大经验奖励。升级建筑还应以王城升级需求为借鉴,优先升级王城需求的建筑。加入活跃的联盟能开启联盟宝藏,这是获取经验的重要渠道。联盟宝藏需联盟盟友协助开启,玩家可以协助盟友开启宝藏并获得奖励。
挖掘联盟当中的宝藏: 加入联盟之后,我们可以有一个挖宝,可以用金币刷新,刷到比较好的奖励,宝藏当中也会有丰富的君主经验。开启军饷、攻打野怪: 我们在采集的时候会拿到军饷,开启宝箱会拿到经验值。另外我们在地图里出征回来,也会获得经验值哦。

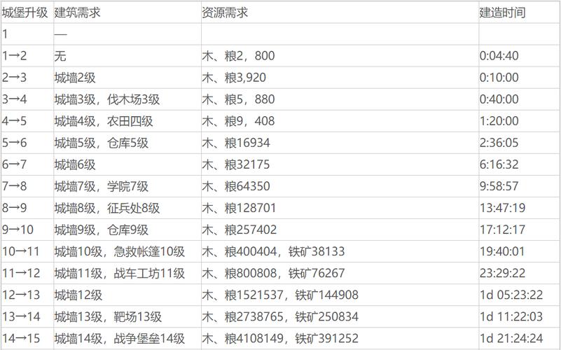
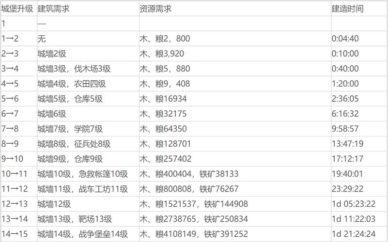
乱世王者主城升级条件
〖壹〗、另外王城升级需求的建筑也可以考虑使用金币或者道具快速升级。下面是升级各级主城所需的前置建筑的一览表,大家可以对应自己的等级进行参照。最后附上乱世王者主城升级资源消耗数据表,上面就是乱世王者主城升级条件的全部内容啦,希望对你有帮助。
〖贰〗、乱世王者主城升级需要满足前置升级条件,也可以说是玩家达成前置升级任务即可有资格升级主城。升级主城同时需要消耗相对应的资源。王城0-10级:需要伐木场3级,农田4级,仓库5级,太史院7级,征兵处8级,仓库9级。
〖叁〗、在乱世王者游戏中,王城等级与解锁所需资源如下:2级,需要73点资源。3级,需要148点资源,并解锁弓兵营。4级,需要286点资源,并解锁太史院。5级,需要540点资源,并解锁战车工坊和陷阱工坊。6级,需要972点资源,并解锁使馆和云游商人。7级,需要1632点资源,并解锁战争大厅和箭塔。
〖肆〗、级王城条件:城墙征兵处8。10级王城条件:城墙仓库9。11级王城条件:城墙医馆10。12级王城条件:城墙1车兵营11。13级王城条件:城墙12级。14级王城条件:城墙13级、弓兵营13。15级王城条件:城墙14级、陷阱作坊14级。16级王城条件:城墙15级、宝石矿15级。
〖伍〗、《乱世王者》主城升级条件30到40:升级主城的升级关键在于时间,资源可以去慢慢采集,所以能够了解升级前置并完成升级可以节约很多时间。升31级前置: 城墙30级,木材3亿、粮草3亿、铁矿2700万、宝石170万、星尘2000,时间21天。

乱世王者怎么升级快
〖壹〗、首先,推荐任务是快速获取经验的途径之一。完成这些任务不仅能获得丰厚的经验奖励,还能提升角色等级和装备品质。其次,根据需求升级建筑同样重要。升级城墙、军营等建筑不仅能增强自己的防御和攻击能力,还能解锁更多资源产出。
〖贰〗、使用道具:游戏里我们所完成的任务和活动,都能获得许多的加速道具,还有资源宝箱之类的商品,都可以直接升级,加速卡可以减少建筑升级时间,节省的时间可以去升级别的建筑,升级建筑还有征兵都需要大量的资源,单凭去世界上占领的土地产出的资源是往往不够的,这些道具就起到很大的作用。
〖叁〗、升级建筑是快速积累经验的重要途径。城池中7分钟内免费升级至1秒的建筑应优先升至3级,以获得最大经验奖励。升级建筑还应以王城升级需求为借鉴,优先升级王城需求的建筑。加入活跃的联盟能开启联盟宝藏,这是获取经验的重要渠道。联盟宝藏需联盟盟友协助开启,玩家可以协助盟友开启宝藏并获得奖励。

《乱世王者》30到40升级表是什么?
升31级前置: 城墙30级,木材3亿、粮草3亿、铁矿2700万、宝石170万、星尘2000,时间21天。升32级前置:城墙31级+使馆31级,木材2亿、粮草2亿、铁矿3000万、宝石200万、星尘4000,时间26天。
在40级解锁对远程的部队伤害加7%,在80级解锁提升部队的行军速度+攻击6%,在60级的时候可以解锁青龙主动技能青龙吼,第一次单人出征的时候提升骑兵的闪避率30%。
乱世王者主城升级条件3级王城:城墙2。4级王城:城墙伐木场1。5级王城:城墙农田3。6级王城:城墙仓库5。7级王城:城墙6。8级王城:城墙太史院6。9级王城:城墙征兵处8。10级王城:城墙仓库9。乱世王者主城升级表11级王城:城墙医馆10。12级王城:城墙1车兵营11。
乱世王者是腾讯的一款SLG军事游戏,在这种游戏里没有技术可言,装备武将好就是一切,所以想要厉害,肯定需要充钱冲VIP,来看看乱世王者VIP贵族费用表吧。
乱世王者城墙升级资源表 城墙:升级可以提升城防值,城防值越高越不容易被人打中,30级的话城防值是5万多,是我们平常的3倍多,所以打走30城是非常难的,如果你没技能你需要打一天,如果你有技能,那么也要打一个小时的,所以城墙还是有用的。
《乱世王者》主城升级条件有哪些前期的话,3天升级到16城,升级到16城小缓。武将的获取方式有多种,不过主要获得方式就是靠点将台了。武将招募中分为普通招募和高级招募,普通招募中能够出现绿色到紫色品质的武将。而高级招募能够出现蓝色到橙色品质的武将。

乱世王者升级攻略乱世王者武将快速升级武将等级怎么提升
〖壹〗、或者是大型的抽奖活动,或者是国庆节的活动才能获得。武将怎么快速升级?云游商人中的兵书,买买买都买下来,这个打折还是不错的。打野获得,打野偶尔会有几本兵书,但是几率和爆金币的几率是一样的,每天把体力打掉。普通和高级招募,这里可以获得大量的兵书,有钱就到开一点,没钱就是每天开固定的。
〖贰〗、据点。攻打高级的据点送的兵书就越好,所以可以多打据点。招募。高级招募和普通招募都有兵书,运气好就出极品兵书了。商城。这里可以直接购买到,费用比较贵,推荐去云游商人这里购买,5个高级兵书只要24金币。活动。收集一些材料然后可以去兑换奖励的,要升级就可以兑换兵书了。
〖叁〗、乱世王者武将快速升级攻略 武将可以升星,橙色的难,紫色的培养一个还是比较容易的,所以我们升星之后才可以升级,不然只能升级到40级,所以升星和升级是同样的重要,培养武将的时候分不开的就是这两了,所以我们要很多的武将兵书。
〖肆〗、首先,了解武将升级机制。在主界面选取武将选项,挑选需要升级的武将,玩家可使用兵书提升武将战斗力,进而增强君主实力。兵书等级从初级到绝世,分别为300、1000、3000、10000和30000经验,可从野外敌兵、势力据点、活动或商城获取。其次,掌握武将升星技巧。升星需拥有该武将和足够的将魂。

乱世王者怎么快速升战力到150万
〖壹〗、君主战斗力的提升主要依赖于通关升级,特别是在前期,打野升级更为迅速。为了提升君主战力,需有一支强大的队伍,能够通过高级怪物,每升一级都会获得战力的提升和技能点。技能点可以用来加点,提升技能效果,加点方向包括采集、体力、造兵数量。根据你的游戏阶段,选取合适的方向加点。
〖贰〗、乱世王者新区速冲150万战力方法 战力提升是有六个方面,君主等级、 科技研究、陷阱战力、部队战力、主城等级、武将等级。
〖叁〗、级的运粮车,你有几万的时候,你的资源采集只出车就可以采很多!5级的运粮车和1级的运粮车承重一样。
好了,文章到此结束,希望可以帮助到大家。

还木有评论哦,快来抢沙发吧~